Skip to content

新增门禁设备

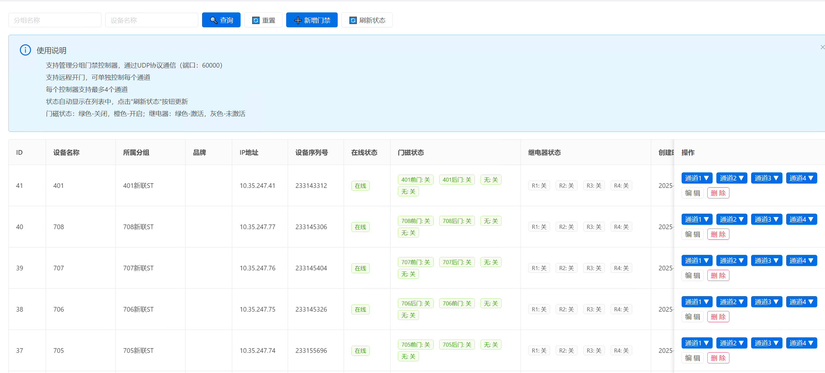
控制台->物联管理->门禁管理

alt text

新增门禁控制器

alt text

设备名称:用于标识的设备名称

所属分组:选择到子节点

门禁IP: 门禁控制器的IP

门禁序列号:门禁控制器序列号

目前仅对接支持的门禁,详情请与我们联系购买

使用效果

alt text