Appearance
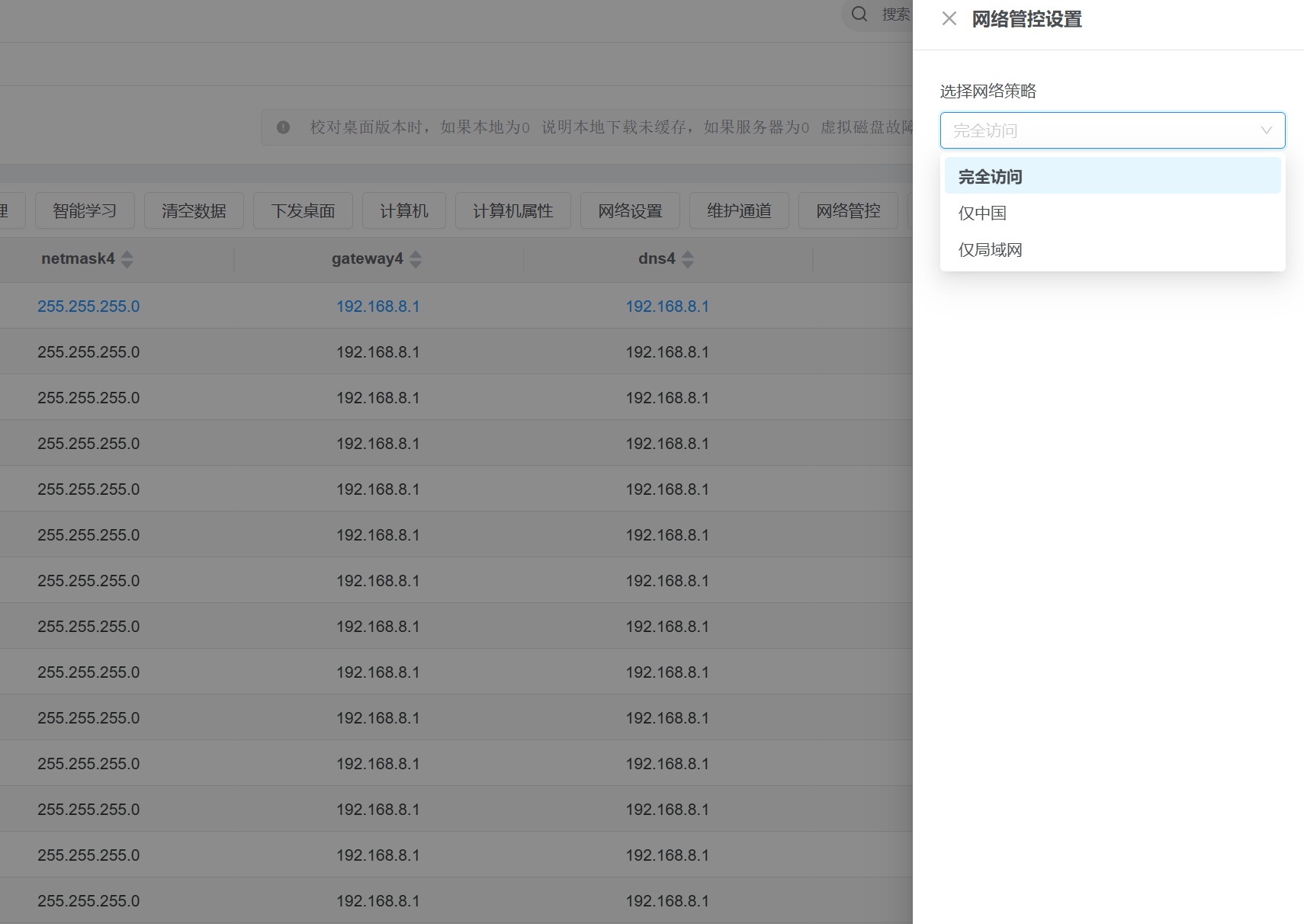
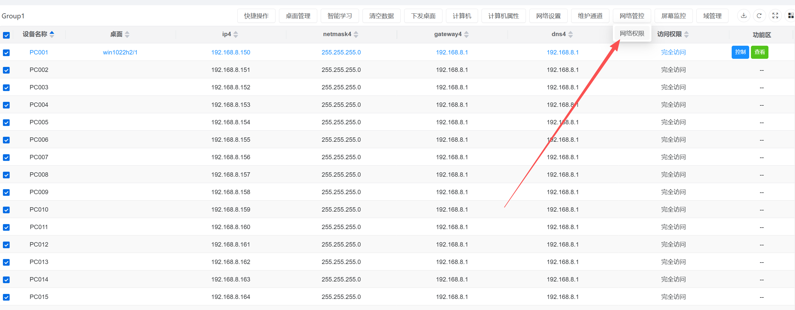
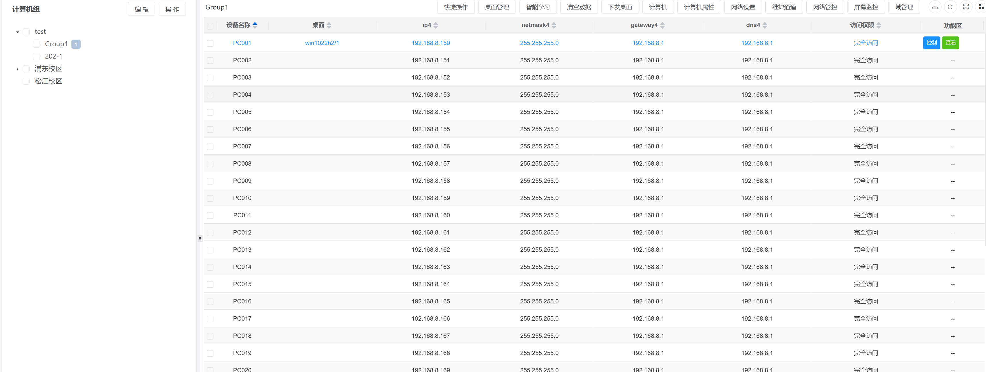
完全访问:网络不受限制,完全放开仅局域网: 仅允许广播包,172 168 10 这样的内网地址通过,其他全部拦截仅中国: 仅允许中国IP 包括IP4和IP6通过 其他全部拦截设置完成后,重启生效
完全访问:网络不受限制,完全放开
仅局域网: 仅允许广播包,172 168 10 这样的内网地址通过,其他全部拦截
仅中国: 仅允许中国IP 包括IP4和IP6通过 其他全部拦截
设置完成后,重启生效